一.实验目的
1.了解CO2临界状态的观测方法,增加对临界状态概念的感性认识;
2.加深课堂上所讲的纯流体热力学状态:汽化、冷凝、饱和态和超临流体等基本概念的理解;
3.掌握CO2的PVT关系的测定方法,熟悉用实验测定真实气体状态变化规律的方法和技巧。
二.实验原理
对纯流体处于平衡态时,其状态参数P、V和T存在以下关系:
F(P,V,T)= 0 或 V = f(P,T)由相律,对纯流体,在单相区,其自由度为2,当温度一定时,体积随压力而变化;在二相区,其自由度为1,温度一定时,压力一定,仅体积发生变化。本实验就是利用定温的方法测定CO2的P和V之间的关系获得CO2的P-V-T数据。
三.实验装置和流程
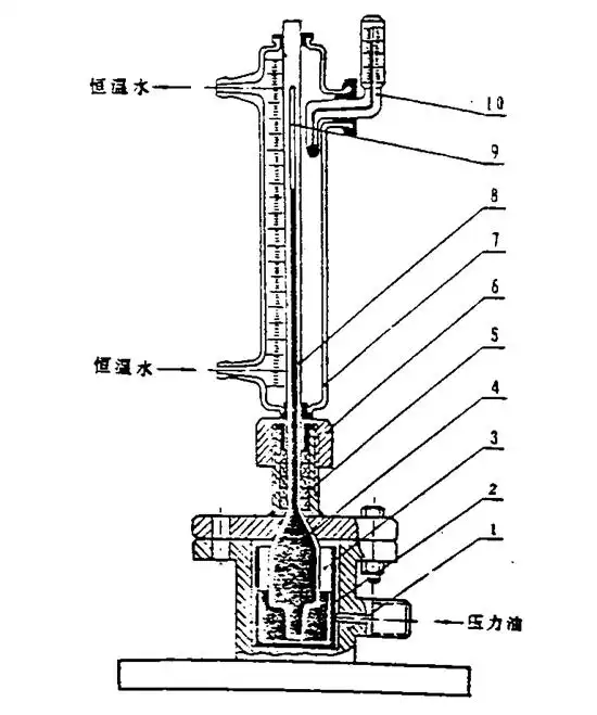
实验装置由试验台本体、压力台和恒温浴及防护罩组成。(参见图1)试验台本体如图所示。
实验中由压力台送来的压力油进入高压容器和玻璃杯上半部,迫使水银进入预先装有CO2气体的承压玻璃管(毛细管),CO2被压缩,其压力和容积通过压力台上的活塞杆的进退来调节。温度由恒温水套的水温调节,水套的恒温水由恒温浴供给。CO2的压力由压力台上的精密压力表读出(注意:绝对压力=表压+大气压),温度由水套内精密温度计读出。比容由CO2柱的高度和质面比常数计算出。
四.实验步骤
1.按图1装好试验设备。
2.接通恒温浴电源,调节恒温水到所要求的实验温度(以恒温水套内精密温度计为准)。
3.加压前的准备----抽油充油操作
(1)关闭压力表及其进入本体油路的二个阀门,开启压力台上油杯的进油阀。
(2)摇退压力台上的活塞螺杆,直至螺杆全部退出。此时压力台上油筒中抽满了油。
(3)先关闭油杯的进油阀,然后开启压力表及其进入本体油路的二个阀门。
(4)摇进活塞杆,使本体充油。直至压力表上有压力读数显示,毛细管下部出现水银为止。
(5)如活塞杆已摇进到头,压力表上还无压力读数显示,毛细管下部未出现水银,则重复(1)--(4)步骤。
(6)再次检查油杯的进油阀是否关闭,压力表及其进入本体油路的二个阀门是否开启。温度是否达到所要求的实验温度。如条件均已调定,则可进行实验测定。
4.测定承压玻璃管(毛细管)内CO2的质面比常数K值
由于承压玻璃管(毛细管)内的CO2质量不便测量,承压玻璃管(毛细管)内径(截面积)不易测准。本实验用间接方法确定CO2的比容。假定承压玻璃管(毛细管)内径均匀一致,CO2比容和高度成正比。
5.测定低于临界温度下的等温线(t = 20℃或25℃)
(1)将恒温水套温度调至t = 20℃或25℃,并保持恒定。
(2)压力从4.0MPa左右(毛细管下部出现水银面)开始,读取相应水银柱上端液面刻度,记录第一个数据点。
(3),提高压力0.3MPa,达到平衡时,读取相应水银柱上端液面刻度,记录第二个数据点。注意加压时,应足够缓慢的摇进活塞杆,以保证定温条件,此时,水银柱高度应稳定在一定数值,不发生波动。
(4)按压力间隔0.3MPa左右,逐次提高压力,测量第三、第四……数据点,直到出现第 一小滴CO2液体为止。
(5)注意此阶段,压力改变后CO2状态的变化,特别是测准出现第 一小滴CO2液体时的压力和蕞后一个CO2小汽泡刚消失时的压力以及相应水银柱上端液面刻度。此阶段压力改变应很小,要交替进行升压和降压操作,压力应按出现第 一小滴CO2液体和蕞后一个CO2小汽泡刚消失的具体条件进行调整。
(6)当CO2全部液化后,继续按压力间隔0.3MPa左右升压,直到压力达到8.0MPa为止。

喷管实验台 制冷制热实验台 换热器综合